Introduction
- This Boresighter Kit will ensure that your rifle is getting your shots on paper when you’re testing out a new rifle and scope combination out in the field.
- Gun Owner that needs help in Sighting In
- In this post, we’ll explain why Boresighting is important, explain how to Boresight without a Vise/Rest and provide instructions if you’re new to Boresighting without a Vise/Rest.
What is Boresighting, and Why Does it Matter?
Bore sighting is the method of focusing the bore (center of the barrel) of a gun with the sights of your firearm.
It is a straightforward method and one that all shooters (novice to expert) need to learn. It also takes a few minutes to Boresight of a firearm promptly. But, it isn’t always the case, especially when you need to use your Boresight Kit out in the field and you are without a proper Gun Vise/Rest.
Sighting in a rifle (or other long guns with a scope) at times, can be an exhaustive process. Time and money in the form of wasted ammunition trying to be on zero with your new optic. But, the best way to get your gun and scope to be a finely-tuned machine without all the wasted time and ammo is to Boresight it.
How to Boresight Out in the Field
Warning: Gun owners, please be sure that the gun is not loaded, the action is open, and the gun’s muzzle is held in a safe direction. Gun owners must use safe gun handling procedures at all times.
1. Where to Place your Rifle, without a Gun Vise/Rest
Close to a flat surface, when you are out in the field (e.g., camping table, flat side of a backpack) or at a firing range (e.g., range table). Make sure it is stable before proceeding to the next steps.

2. Scope Mounting
With the rings already installed onto the firearm, separate the upper section of the rings by removing the screws. Place the scope onto the bottom halves of the ring. Replace the top loosely do not tighten. Rotate the scope to position the elevation turret on top of the scope (vertical). Look at an object through the scope; adjust the eye relief by sliding it back and forth until the correct eye relief distance is achieved. Tighten the set screws on top halves of the rings.

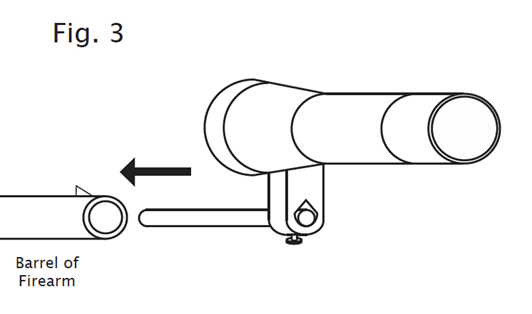
3. Attach the Boresighter to Firearm Muzzle
Select the appropriate bore arbor from the kit by selecting caliber indicated next to each arbor and insert the end of the arbor with brass hinge into the Boresighter. Hand tighten the locking screw to attach the Boresighter (Fig. 1 and 2) firmly.
Warning: If the bore stud does not insert easily, remove and verify that the correct stud is attached.
Insert the other end of the stud into the muzzle (Fig. 3).

4. Pre-Zeroing with the Boresighter
If necessary, rotate the Boresighter until the grid lines match vertically and horizontally with the reticle vectors. Remove the windage and elevation caps (If required). Adjust the windage and elevation turrets until the crosshairs line up with the center of the Boresighter’s grid. Each division on the grid is equal to 4 M.O.A. or inches at 100 yards. Pre-zeroing the scope in now complete. Remove the Boresighter and bore stud from the barrel and secure it in the supplied case.

Warning: Be sure that the bore stud is gone from the barrel. Failure to do so may result in injury or death to the shooter or bystanders. At an approved range or another safe area, complete the zeroing procedures indicated in your scope instruction manual.
Warning: Eye and ear protection is strongly recommended. Owners must use safe gun handling procedures must be used at all times.
Conclusion
Though most gun enthusiasts think bore sighting only applies to rifles, they can use the Kit with various firearms in actuality. Handgun hunters can align their pistol’s scope, and the bore of their gun is centered. Bore sighting works fantastic with shotguns that need to be zeroed in, used for small-bird to big-game hunting. Bore sighting is the most efficient way to save time and ammunition money out in the field, where every shot counts.
If you need an iron boresighter kit, Barska has you prepared! Get ready for precise targeting in no time!
Written by Ronnie Hossain
